国际足球 2025-12-22 19:50:06
北京时间12月22日,FIFA公布了国家队的年终排名,西班牙、阿根廷前2,法国、英格兰分列3、4,摩洛哥第11,日本第18。

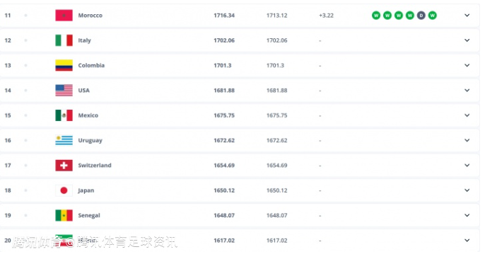
FIFA年终排名前20如下:
1-西班牙
2-阿根廷
3-法国
4-英格兰
5-巴西
6-葡萄牙
7-荷兰
8-比利时
9-德国
10-克罗地亚

11-摩洛哥
12-意大利
13-哥伦比亚
14-美国
15-墨西哥
16-乌拉圭
17-瑞士
18-日本
19-塞内加尔
20-伊朗

而国足过去5个月里未参加国际比赛,积分仍是1249.06,相较上期排名无变化。目前是排名世界第93,亚洲第14。国足本次排名为2014年后年终最低排名。
在11月的世界排名中,国足位列世界第93,亚洲第14。
最新FIFA世界排名亚洲前14:
1.日本(18)
2.伊朗(20)
3.韩国(22)
4.澳大利亚(26)
5.乌兹别克斯坦(50)
6.卡塔尔(54)
7.伊拉克(58)
8.沙特(60)
9.约旦(64)
10.阿联酋(68)
11.阿曼(79)
12.叙利亚(86)
13.巴林(90)
14.中国